JIB MS3-8
Модель:
JIB MS3-8
Запчасти поставляются только для владельцев нашего оборудования и только в случае замены поврежденных деталей (для ремонта).
При оформлении заказа на запчасти необходимо направить на наш e-mail:
- фото серийного номера станка,
- фото поврежденной детали.
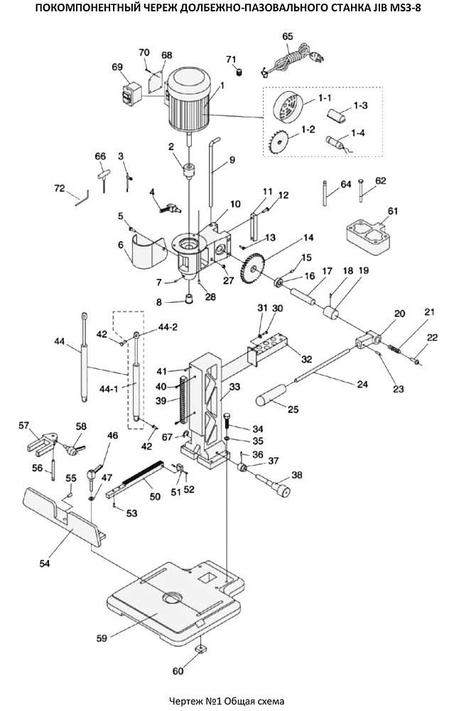
Номер детали:
13
Номер модели:
MS3-8#13
Описание:
ВИНТ
Номер детали:
14
Номер модели:
MS3-8#14
Описание:
ШЕСТЕРНЯ
Номер детали:
15
Номер модели:
MS3-8#15
Описание:
ВИНТ
Номер детали:
16
Номер модели:
MS3-8#16
Описание:
РАСПОРКА
Номер детали:
17
Номер модели:
MS3-8#17
Описание:
ВАЛ
Номер детали:
18
Номер модели:
MS3-8#18
Описание:
ШТИФТ
Номер детали:
19
Номер модели:
MS3-8#19
Описание:
МУФТА
Номер детали:
20
Номер модели:
MS3-8#20
Описание:
ХОМУТ