О компании
Каталог товаров
Сервис
Условия гарантии
ГАРАНТИЯ
РЕГИСТРАЦИЯ ОБОРУДОВАНИЯ
ЗАКАЗ ЗАПЧАСТЕЙ
ОБРАЩЕНИЕ В СЕРВИС
Регистрация оборудования
Инструкции для скачивания
Видео по сборке и настройке
Техническая поддержка
Заявка в сервис
Найти сервисный центр
Горячая линия с сервисом
Заказ запчастей
Возврат и обмен
База знаний
Вопросы и ответы
Купить
Как купить
Оформить покупку он-лайн
Торгово - сервисные центры
Выбрать дилера
Рассрочка и кредит
Оплата
Программа лояльности
Возврат и обмен
Доставка
Условия доставки
Терминалы выдачи
Самовывоз
Видео
Видео YouTube
Видео Rutube
Видео YouTube
Видео Rutube
Видео пользователей
Видео по сборке и настройке
Видео Дзен
Видео YouTube
Видео Rutube
Видео пользователей
Видео по сборке и настройке
Видео пользователей
Видео по сборке и настройке
Контакты
+7(800)500-27-83
Авторизация
Войти
Регистрация
Главная страница
Заказ запчастей
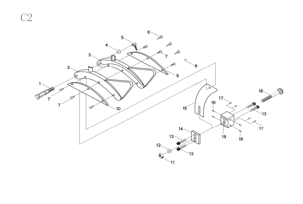
JIB MJ10-700
JIB MJ10-700
Модель:
JIB MJ10-700
Запчасти поставляются только для владельцев нашего оборудования и только в случае замены поврежденных деталей (для ремонта).
При оформлении заказа на запчасти необходимо направить на наш e-mail:
фото серийного номера станка,
фото поврежденной детали.
Скачать схему в PDF
Номер детали
Артикул
Описание
Цена руб.
Кол-во
Номер детали:
A-1
Номер модели:
MJ10-700-A-1
Описание:
Винт M6x12
Цена:
Купить
Номер детали:
A-2
Номер модели:
MJ10-700-A-2
Описание:
Шайба 6mm
Цена:
Купить
Номер детали:
A-3
Номер модели:
MJ10-700-A-3
Описание:
Правая панель станина станка 1
Цена:
Купить
Номер детали:
A-4
Номер модели:
MJ10-700-A-4
Описание:
Рама станины станка
Цена:
Купить
Номер детали:
A-5
Номер модели:
MJ10-700-A-5
Описание:
Шайба 5mm
Цена:
Купить
Номер детали:
A-6
Номер модели:
MJ10-700-A-6
Описание:
Пластина для касания коленом
Цена:
Купить
Номер детали:
A-7
Номер модели:
MJ10-700-A-7
Описание:
Саморез ST4.2x20
Цена:
Купить
Номер детали:
A-8
Номер модели:
MJ10-700-A-8
Описание:
Правая панель станина станка 2
Цена:
Купить
1
2
3
4
33