О компании
Каталог товаров
Сервис
Условия гарантии
ГАРАНТИЯ
РЕГИСТРАЦИЯ ОБОРУДОВАНИЯ
ЗАКАЗ ЗАПЧАСТЕЙ
ОБРАЩЕНИЕ В СЕРВИС
Регистрация оборудования
Инструкции для скачивания
Видео по сборке и настройке
Техническая поддержка
Заявка в сервис
Найти сервисный центр
Горячая линия с сервисом
Заказ запчастей
Возврат и обмен
База знаний
Вопросы и ответы
Купить
Как купить
Оформить покупку он-лайн
Торгово - сервисные центры
Выбрать дилера
Рассрочка и кредит
Оплата
Программа лояльности
Возврат и обмен
Доставка
Условия доставки
Терминалы выдачи
Самовывоз
Видео
Видео YouTube
Видео Rutube
Видео YouTube
Видео Rutube
Видео пользователей
Видео по сборке и настройке
Видео Дзен
Видео YouTube
Видео Rutube
Видео пользователей
Видео по сборке и настройке
Видео пользователей
Видео по сборке и настройке
Контакты
+7(800)500-27-83
Авторизация
Войти
Регистрация
Главная страница
Заказ запчастей
LAGUNA 14|12
LAGUNA 14|12
Модель:
MBAND1412-175
Запчасти поставляются только для владельцев нашего оборудования и только в случае замены поврежденных деталей (для ремонта).
При оформлении заказа на запчасти необходимо направить на наш e-mail:
фото серийного номера станка,
фото поврежденной детали.
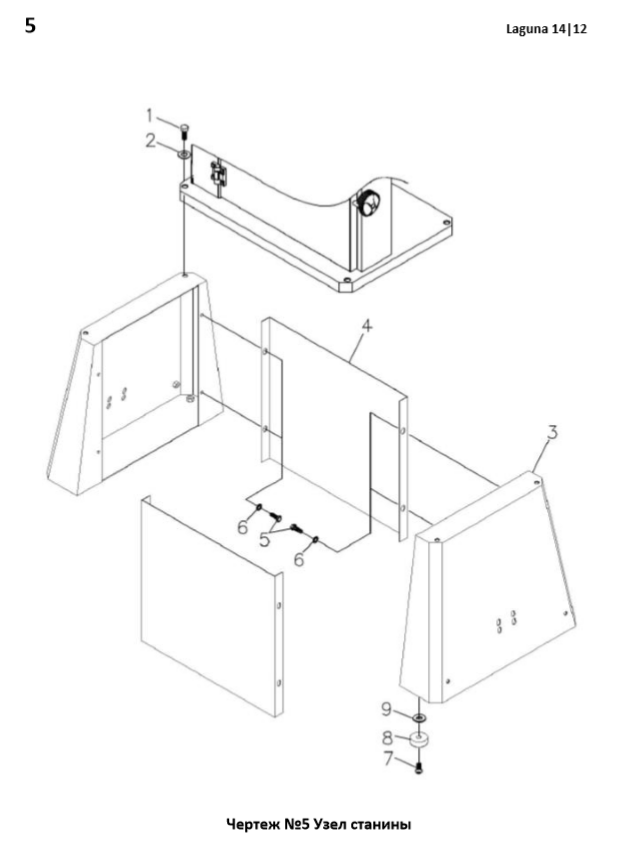
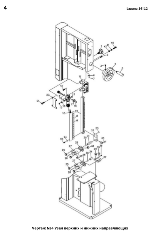
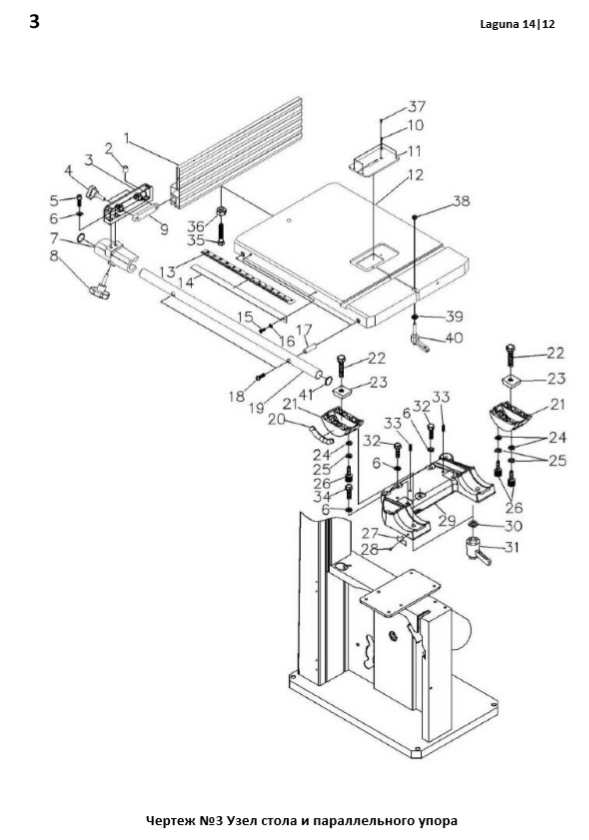
Скачать схему в PDF
Номер детали
Артикул
Описание
Цена руб.
Кол-во
Номер детали:
1-1
Номер модели:
Laguna 14|12-1-1
Описание:
Гайка шестигранная M14x1.5- LH
Цена:
Купить
Номер детали:
1-2
Номер модели:
Laguna 14|12-1-2
Описание:
Подшипник шариковый 6202LLU
Цена:
Купить
Номер детали:
1-3
Номер модели:
Laguna 14|12-1-3
Описание:
Кольцо стопорное R35
Цена:
Купить
Номер детали:
1-4
Номер модели:
Laguna 14|12-1-4
Описание:
Бандаж полиуретановый
Цена:
Купить
Номер детали:
1-5
Номер модели:
Laguna 14|12-1-5
Описание:
Маховик верхний
Цена:
Купить
Номер детали:
1-6
Номер модели:
Laguna 14|12-1-6
Описание:
Вал маховика верхнего
Цена:
Купить
Номер детали:
1-7
Номер модели:
Laguna 14|12-1-7
Описание:
Кронштейн вала маховика верхнего
Цена:
Купить
Номер детали:
1-8
Номер модели:
Laguna 14|12-1-8
Описание:
Шайба пружинная 3/8"
Цена:
Купить
Скачать схему в PDF
1
2
3
4
30